Установка электровентилятора ОЖ взамен принудительного.
-
lexach
- Стажер

- Сообщения: 12
- Зарегистрирован: Чт апр 19, 2012 11:09:57
- Модель авто: ВАЗ 21053, 2000г.в., БСЗ, 5ст мкпп, ОЗОН 2107-1107010
- Тип двигателя: Карбюраторный
- Откуда: Тверская область
- Благодарил (а): 2 раза
- Поблагодарили: 2 раза
Re: Установка электровентилятора ОЖ взамен принудительного.
диаметр переходника 38 (выступы с краёв почти 40), а шланг 40 (чуток может побольше), натягивается с трудом, но лезет, лишь бы не лопнул. На 2 странице есть фото переходников, у меня такой же.
- kosar
- Начинающий классиковод

- Сообщения: 108
- Зарегистрирован: Ср апр 06, 2011 16:41:47
- Модель авто: Спартанская колесница 21053, озон, бсз., редуктор 4.3
- Тип двигателя: Карбюраторный
- Откуда: Москва
- Благодарил (а): 9 раз
Re: Установка электровентилятора ОЖ взамен принудительного.
Может слегка не в тему, но патрубок верхний какой надо брать на 21053 (троешный двиг) для 2101-2107 или 2105. Думается мне что 2105 это для пятерошного движка 1.2. Или я не прав?
- D.I.M.A.R.
- Модератор

- Сообщения: 4551
- Зарегистрирован: Пн янв 18, 2010 11:57:23
- Модель авто: Granta liftback 2014 1,6 16V (21127) "черный трюфель"; была 21053
- Тип двигателя: Инжекторный
- Откуда: Санкт-Петербург
- Благодарил (а): 299 раз
- Поблагодарили: 624 раза
Re: Установка электровентилятора ОЖ взамен принудительного.
тут все дело не в двигателе или автомобиле а втом какой стоит радиатор (медь, люминь, старый, новый...)kosar писал(а):но патрубок верхний какой надо брать на 21053 (троешный двиг)
- kosar
- Начинающий классиковод

- Сообщения: 108
- Зарегистрирован: Ср апр 06, 2011 16:41:47
- Модель авто: Спартанская колесница 21053, озон, бсз., редуктор 4.3
- Тип двигателя: Карбюраторный
- Откуда: Москва
- Благодарил (а): 9 раз
Re: Установка электровентилятора ОЖ взамен принудительного.
Алюминевый, думаю новый т.к. машина 2000 г/в. Спрашиваю потому что в руси 3 вида (для 2101-2107, для 2105 алюминь, 2105 медь)D.I.M.A.R. писал(а):тут все дело не в двигателе или автомобиле а втом какой стоит радиатор (медь, люминь, старый, новый...)kosar писал(а):но патрубок верхний какой надо брать на 21053 (троешный двиг)
- D.I.M.A.R.
- Модератор

- Сообщения: 4551
- Зарегистрирован: Пн янв 18, 2010 11:57:23
- Модель авто: Granta liftback 2014 1,6 16V (21127) "черный трюфель"; была 21053
- Тип двигателя: Инжекторный
- Откуда: Санкт-Петербург
- Благодарил (а): 299 раз
- Поблагодарили: 624 раза
Re: Установка электровентилятора ОЖ взамен принудительного.
читай посты
http://www.semerka.info/forum/viewtopic ... 88#p244588
http://www.semerka.info/forum/viewtopic ... 82#p288682
я там даже артикулы выписал
http://www.semerka.info/forum/viewtopic ... 88#p244588
http://www.semerka.info/forum/viewtopic ... 82#p288682
я там даже артикулы выписал
- Антон80
- Модератор

- Сообщения: 47853
- Зарегистрирован: Сб окт 09, 2010 15:16:45
- Модель авто: Chevrolet AVEO 2005, 1.5
- Тип двигателя: Инжекторный
- Откуда: Украина, Кременчуг
- Благодарил (а): 1517 раз
- Поблагодарили: 3793 раза
Re: Установка электровентилятора ОЖ взамен принудительного.
lexach
Вот-вот. 38 мм. А патрубок 30 мм. Это он от времени разбух. Натягиваешь- рвется. я приваривал трубки 30 мм с двух сторон.
Вот-вот. 38 мм. А патрубок 30 мм. Это он от времени разбух. Натягиваешь- рвется. я приваривал трубки 30 мм с двух сторон.
- kosar
- Начинающий классиковод

- Сообщения: 108
- Зарегистрирован: Ср апр 06, 2011 16:41:47
- Модель авто: Спартанская колесница 21053, озон, бсз., редуктор 4.3
- Тип двигателя: Карбюраторный
- Откуда: Москва
- Благодарил (а): 9 раз
Re: Установка электровентилятора ОЖ взамен принудительного.
Купил для 2105 алюминь, приложил - вроде подошло. Теперь вопрос в следующем - где лучше резать, чтобы датчик вставить (ближе к движку или к радиатору), просто думаю от движка еще лишнее тепло будет идти на датчик?D.I.M.A.R. писал(а):читай посты
http://www.semerka.info/forum/viewtopic ... 88#p244588
http://www.semerka.info/forum/viewtopic ... 82#p288682
я там даже артикулы выписал
-
lexach
- Стажер

- Сообщения: 12
- Зарегистрирован: Чт апр 19, 2012 11:09:57
- Модель авто: ВАЗ 21053, 2000г.в., БСЗ, 5ст мкпп, ОЗОН 2107-1107010
- Тип двигателя: Карбюраторный
- Откуда: Тверская область
- Благодарил (а): 2 раза
- Поблагодарили: 2 раза
Re: Установка электровентилятора ОЖ взамен принудительного.
мерил всё перед монитором, новый патрубок, единственное данные давал наружные.Антон80 писал(а):lexach
Вот-вот. 38 мм. А патрубок 30 мм. Это он от времени разбух. Натягиваешь- рвется. я приваривал трубки 30 мм с двух сторон.
- kosar
- Начинающий классиковод

- Сообщения: 108
- Зарегистрирован: Ср апр 06, 2011 16:41:47
- Модель авто: Спартанская колесница 21053, озон, бсз., редуктор 4.3
- Тип двигателя: Карбюраторный
- Откуда: Москва
- Благодарил (а): 9 раз
Re: Установка электровентилятора ОЖ взамен принудительного.
Врезал рядом с радиатором, посмотрим что получится.
- Gena
- Водила

- Сообщения: 69
- Зарегистрирован: Чт июн 16, 2011 18:54:51
- Модель авто: vaz 21043,БСЗ,ЭСП,амортизаторы Pilenga(от Шнивы),евроручки
- Тип двигателя: Карбюраторный
- Откуда: комиафрика,г.Усинск
- Благодарил (а): 3 раза
- Поблагодарили: 5 раз
Re: Установка электровентилятора ОЖ взамен принудительного.
На мой взгляд врезка температурного датчика в верхний патрубок-бред.Ведь тепло идущее от двигла собирается вверху,а тем более летом,когда капот как раскаленная сковорода.Датчик будет включаться раньше,чем требуется,и интервалы между отключением и следующим включением вентилятора будут мизерными.И спрашивается-нахрена такая переделка.Почему производители авто устанавливают датчики внизу радиатора или максимум посередине-потому что датчик не должен нагреваться от внешних тепловых воздействий.Если уж хочешь установить ЭВОД(электрический вентилятор охлаждения двигателя),то врезай между радиатором и термостатом,понятное дело что там ая-яй как неудобно.Купи радиатор -07 и не парься!
- Антон80
- Модератор

- Сообщения: 47853
- Зарегистрирован: Сб окт 09, 2010 15:16:45
- Модель авто: Chevrolet AVEO 2005, 1.5
- Тип двигателя: Инжекторный
- Откуда: Украина, Кременчуг
- Благодарил (а): 1517 раз
- Поблагодарили: 3793 раза
Re: Установка электровентилятора ОЖ взамен принудительного.
Это так кажется. Нормально все, стрелка всегда вертикально, чуть влево- включается вентилятор. Проверено лично. Не пожалел, что туда врезал. И менять удобно.Gena писал(а):врезка температурного датчика в верхний патрубок-бред
-
lexach
- Стажер

- Сообщения: 12
- Зарегистрирован: Чт апр 19, 2012 11:09:57
- Модель авто: ВАЗ 21053, 2000г.в., БСЗ, 5ст мкпп, ОЗОН 2107-1107010
- Тип двигателя: Карбюраторный
- Откуда: Тверская область
- Благодарил (а): 2 раза
- Поблагодарили: 2 раза
Re: Установка электровентилятора ОЖ взамен принудительного.
Антон80
Согласен с тобой полностью и на инжекторной классике тоже датчик врезан в верхний патрубок, это уже обсуждалось на форуме.
Согласен с тобой полностью и на инжекторной классике тоже датчик врезан в верхний патрубок, это уже обсуждалось на форуме.
- D.I.M.A.R.
- Модератор

- Сообщения: 4551
- Зарегистрирован: Пн янв 18, 2010 11:57:23
- Модель авто: Granta liftback 2014 1,6 16V (21127) "черный трюфель"; была 21053
- Тип двигателя: Инжекторный
- Откуда: Санкт-Петербург
- Благодарил (а): 299 раз
- Поблагодарили: 624 раза
Re: Установка электровентилятора ОЖ взамен принудительного.
но там совсем другая система включения вентилятораlexach писал(а):согласен с тобой полностью и на инжекторной классике тоже датчик врезан в верхний патрубок,
-
lexach
- Стажер

- Сообщения: 12
- Зарегистрирован: Чт апр 19, 2012 11:09:57
- Модель авто: ВАЗ 21053, 2000г.в., БСЗ, 5ст мкпп, ОЗОН 2107-1107010
- Тип двигателя: Карбюраторный
- Откуда: Тверская область
- Благодарил (а): 2 раза
- Поблагодарили: 2 раза
Re: Установка электровентилятора ОЖ взамен принудительного.
Но всё равно дешевле и удобнее врезать переходник в верхний патрубок, чем покупать новый радиатор, если свой ещё нормальный.
- Антон80
- Модератор

- Сообщения: 47853
- Зарегистрирован: Сб окт 09, 2010 15:16:45
- Модель авто: Chevrolet AVEO 2005, 1.5
- Тип двигателя: Инжекторный
- Откуда: Украина, Кременчуг
- Благодарил (а): 1517 раз
- Поблагодарили: 3793 раза
Re: Установка электровентилятора ОЖ взамен принудительного.
То есть ты за врезку вниз?D.I.M.A.R. писал(а):но там совсем другая система включения вентилятора
- kosar
- Начинающий классиковод

- Сообщения: 108
- Зарегистрирован: Ср апр 06, 2011 16:41:47
- Модель авто: Спартанская колесница 21053, озон, бсз., редуктор 4.3
- Тип двигателя: Карбюраторный
- Откуда: Москва
- Благодарил (а): 9 раз
Re: Установка электровентилятора ОЖ взамен принудительного.
Собственно поставил себе электровентилятор. Захотелось поведать о своих приключениях по установке, может кому поможет в дальнейшем.
Думал сначала врезать в верхний патрубок (и лучше бы я так и сделал), но обнаружив дырку для датчика решил делать как на заводе. По установке: Снимается старый и ставится новый вполне себе легко. Но есть 2 нюанса:
1. я при снятии старого карлсона не снимал шкив, а сразу прикрутил новые короткие болты, в результате чего его перекосило и пошли вибрации и гул, а нужно было снять ремень и затягивать шкив без нагрузки.
2. Болты для шкива нужно подбирать, поскольку я сперва не снимал ремень, а затигвал их сразу не учел что они могут оказаться больше чем нужно (шкив при снятом ремне должен ходить свободно при затянутых болтах).
На смену/установку (со сливом тосола) у меня ушло около часа, можно сделать и быстрее если есть краник.
Схема в данной теме из первых страниц оказалась явно не для моего автомобиля. 1. голубого провода в красном шлейфе не было вобще, а как только он туда был установлен и подключено все было по схеме замкнуло половину предохранителей... Схема то впринципе правильная точно такая же есть и в мурзилке, но видимо автомобиль был неправильным ) Вобще у меня лично если сверять с мурзилкой в красном и зеленом шлейфе не хватает по 1-3 провода. Может прошлый владелец сменил монтажный блок на новый оставив старую проводку, а может очередной брак на автовазе.
Опытным путем (с помощью контрольки и только после этого подключения вентилятора) нашли нужные провода в моем случае это оказался оранжевый и еще какой то из зеленого шлейфа. Для тех кто хочет повторить мой опыт рекомендую сразу снимать блок предохранителей, чтобы удобней было искать нужные провода, прозванивать и т. д. Честно говоря если бы знал что все настолько запутанно обратился бы к электрику.
Вентилятор покупал Luzar - всем рекомендую. В руси он идет с неплохим комплектом креплений (резиночки, втулки, шайбы гайки).
Итог: На подключение ушло пол дня с перекурами и изучением схем. Очень понравилась работа нового электромотора (минимум вибраций, звук как на иномарках). Субъективно кажется, что движок стал работать потише и чуть меньше вибраций (может быть самовнушение). Не понравился датчик (взял на 92-87 т.е. срабатывает якобы при 92 и выключается якобы при 87, на самом деле судя по датчику внутри салона это происходит при 97-92, что не есть гуд), думаю такая температура срабатывания получается из-за того что внизу в углу радиатора гораздо холоднее чем было бы в верхнем патрубке. Поэтому рекомендую 92-87 в верхний патрубок, а в радиатор максимум 87. Посмотрим как он будет справляться с жарой. Таким же электрикам как я или просто людям, которые не уверены в своих силах, рекомендую устанавливать неподалеку от электрика (поставить электровентилятор несложно, но если будут проблемы с подключением сможете обратиться к специалистам).
Думал сначала врезать в верхний патрубок (и лучше бы я так и сделал), но обнаружив дырку для датчика решил делать как на заводе. По установке: Снимается старый и ставится новый вполне себе легко. Но есть 2 нюанса:
1. я при снятии старого карлсона не снимал шкив, а сразу прикрутил новые короткие болты, в результате чего его перекосило и пошли вибрации и гул, а нужно было снять ремень и затягивать шкив без нагрузки.
2. Болты для шкива нужно подбирать, поскольку я сперва не снимал ремень, а затигвал их сразу не учел что они могут оказаться больше чем нужно (шкив при снятом ремне должен ходить свободно при затянутых болтах).
На смену/установку (со сливом тосола) у меня ушло около часа, можно сделать и быстрее если есть краник.
Схема в данной теме из первых страниц оказалась явно не для моего автомобиля. 1. голубого провода в красном шлейфе не было вобще, а как только он туда был установлен и подключено все было по схеме замкнуло половину предохранителей... Схема то впринципе правильная точно такая же есть и в мурзилке, но видимо автомобиль был неправильным ) Вобще у меня лично если сверять с мурзилкой в красном и зеленом шлейфе не хватает по 1-3 провода. Может прошлый владелец сменил монтажный блок на новый оставив старую проводку, а может очередной брак на автовазе.
Опытным путем (с помощью контрольки и только после этого подключения вентилятора) нашли нужные провода в моем случае это оказался оранжевый и еще какой то из зеленого шлейфа. Для тех кто хочет повторить мой опыт рекомендую сразу снимать блок предохранителей, чтобы удобней было искать нужные провода, прозванивать и т. д. Честно говоря если бы знал что все настолько запутанно обратился бы к электрику.
Вентилятор покупал Luzar - всем рекомендую. В руси он идет с неплохим комплектом креплений (резиночки, втулки, шайбы гайки).
Итог: На подключение ушло пол дня с перекурами и изучением схем. Очень понравилась работа нового электромотора (минимум вибраций, звук как на иномарках). Субъективно кажется, что движок стал работать потише и чуть меньше вибраций (может быть самовнушение). Не понравился датчик (взял на 92-87 т.е. срабатывает якобы при 92 и выключается якобы при 87, на самом деле судя по датчику внутри салона это происходит при 97-92, что не есть гуд), думаю такая температура срабатывания получается из-за того что внизу в углу радиатора гораздо холоднее чем было бы в верхнем патрубке. Поэтому рекомендую 92-87 в верхний патрубок, а в радиатор максимум 87. Посмотрим как он будет справляться с жарой. Таким же электрикам как я или просто людям, которые не уверены в своих силах, рекомендую устанавливать неподалеку от электрика (поставить электровентилятор несложно, но если будут проблемы с подключением сможете обратиться к специалистам).
-
VodolAZ
- Начинающий классиковод

- Сообщения: 157
- Зарегистрирован: Вт мар 10, 2009 12:19:34
- Модель авто: Toyota-Avensis 2000? 1,8i, 110лс, МКПП
- Тип двигателя: Инжекторный
- Благодарил (а): 2 раза
- Поблагодарили: 3 раза
- Контактная информация:
Re: Установка электровентилятора ОЖ взамен принудительного.
Всем привет! Поздно заметил тему:-(
У меня всё начиналось в 2005г. Зимой при -20 двигатель больше 40гр не нагревался:-(
Что только не пробовал: менял термостат, закрывал картонкой радиатор и прочее...
Потом догадался снять крыльчатку вентилятора принудительного охлаждения. Всё сразу прогрелось и стало тепло в двигателе и в салоне.
Решил заменить механику на электрику.
Купил стальной патрубок от Волги. Сбоку в него вварена гайка под т/датчик. Причём датчик купил Жигулёвский+медная шайба для уплотнения. Верхний резиновый патрубок разрезается, вырезается средняя часть и на её место вставляем стальной патрубок. С обеих сторон стягиваем хомутами.
Реле поставил на штатное место. Повозился с поиском проводов. Сейчас бы не стал этого делать. Проще всего не лазить в монтажный блок, а реле поставить, где удобно.
У меня всё начиналось в 2005г. Зимой при -20 двигатель больше 40гр не нагревался:-(
Что только не пробовал: менял термостат, закрывал картонкой радиатор и прочее...
Потом догадался снять крыльчатку вентилятора принудительного охлаждения. Всё сразу прогрелось и стало тепло в двигателе и в салоне.
Решил заменить механику на электрику.
Купил стальной патрубок от Волги. Сбоку в него вварена гайка под т/датчик. Причём датчик купил Жигулёвский+медная шайба для уплотнения. Верхний резиновый патрубок разрезается, вырезается средняя часть и на её место вставляем стальной патрубок. С обеих сторон стягиваем хомутами.
Реле поставил на штатное место. Повозился с поиском проводов. Сейчас бы не стал этого делать. Проще всего не лазить в монтажный блок, а реле поставить, где удобно.
- Вложения
-
- Вентилятор.GIF (7.02 КБ) 13710 просмотров
- Antispeed
- Начинающий классиковод

- Сообщения: 162
- Зарегистрирован: Пн июл 05, 2010 19:45:32
- Модель авто: Ваз 2105,БСЗ, карб Солекс 21053-62), двигло 1300
- Благодарил (а): 5 раз
Re: Установка электровентилятора ОЖ взамен принудительного.
Вот, вот и я так хочу сделать, мимо блока поставить реле со встроеным предохранителем и все, чтоб блок не трогать. Все купил, осталось установить. только вот провода идущие из моторчика винта, куда какие подключать?
-
VodolAZ
- Начинающий классиковод

- Сообщения: 157
- Зарегистрирован: Вт мар 10, 2009 12:19:34
- Модель авто: Toyota-Avensis 2000? 1,8i, 110лс, МКПП
- Тип двигателя: Инжекторный
- Благодарил (а): 2 раза
- Поблагодарили: 3 раза
- Контактная информация:
Re: Установка электровентилятора ОЖ взамен принудительного.
Не совсем понял. Какие провода? Их там много что-ли? Должен быть + и -. Всё.
И ещё: не встречал реле со встроенным предохранителем. МОжешь фоту разместить?
И ещё: не встречал реле со встроенным предохранителем. МОжешь фоту разместить?
- JET
- Прописан на semerka.info
- Сообщения: 8309
- Зарегистрирован: Чт дек 18, 2008 13:38:18
- Модель авто: BOGDAN 21104
- Тип двигателя: Инжекторный
- Откуда: СССР
- Благодарил (а): 253 раза
- Поблагодарили: 639 раз
- Контактная информация:
Re: Установка электровентилятора ОЖ взамен принудительного.
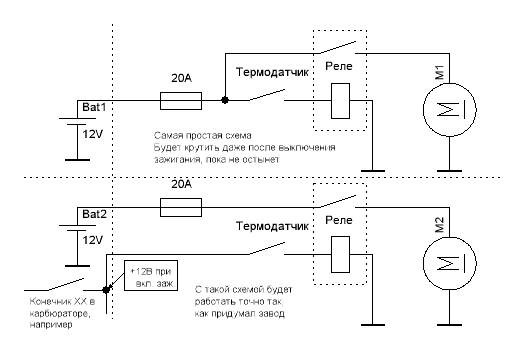
Вот картинкаVodolAZ писал(а): не встречал реле со встроенным предохранителем.
Но лучше такие не брать - качество отстойное.
-
VodolAZ
- Начинающий классиковод

- Сообщения: 157
- Зарегистрирован: Вт мар 10, 2009 12:19:34
- Модель авто: Toyota-Avensis 2000? 1,8i, 110лс, МКПП
- Тип двигателя: Инжекторный
- Благодарил (а): 2 раза
- Поблагодарили: 3 раза
- Контактная информация:
Re: Установка электровентилятора ОЖ взамен принудительного.
В общем, проще взять реле, колодку предохранителя и приклеить их друг к другу)))
Так что там с проводами? Пока я здесь, постараюсь объяснить)))
Так что там с проводами? Пока я здесь, постараюсь объяснить)))
- Антон80
- Модератор

- Сообщения: 47853
- Зарегистрирован: Сб окт 09, 2010 15:16:45
- Модель авто: Chevrolet AVEO 2005, 1.5
- Тип двигателя: Инжекторный
- Откуда: Украина, Кременчуг
- Благодарил (а): 1517 раз
- Поблагодарили: 3793 раза
Re: Установка электровентилятора ОЖ взамен принудительного.
Я такое и на сигнал, и на вентилятор поставил. Нормально за 2 года работают.JET писал(а):Но лучше такие не брать - качество отстойное
На самом реле нарисовано, кто есть кто. Где катушка, где контакты. Минус вентилятора на массу, плюс- через контакт реле и предохранитель (около аккума, на тот, что в реле не надейся, мало ли что) на плюс аккума.VodolAZ писал(а):Так что там с проводами?
-
VodolAZ
- Начинающий классиковод

- Сообщения: 157
- Зарегистрирован: Вт мар 10, 2009 12:19:34
- Модель авто: Toyota-Avensis 2000? 1,8i, 110лс, МКПП
- Тип двигателя: Инжекторный
- Благодарил (а): 2 раза
- Поблагодарили: 3 раза
- Контактная информация:
Re: Установка электровентилятора ОЖ взамен принудительного.
Здравая мысль. Я всегда стараюсь предохранитель максимально близко к + АКБ размещать. Чтоб провод перед предохранителем был коротким.Антон80 писал(а):JET писал(а):Минус вентилятора на массу, плюс- через контакт реле и предохранитель (около аккума, на тот, что в реле не надейся, мало ли что) на плюс аккума.
- Antispeed
- Начинающий классиковод

- Сообщения: 162
- Зарегистрирован: Пн июл 05, 2010 19:45:32
- Модель авто: Ваз 2105,БСЗ, карб Солекс 21053-62), двигло 1300
- Благодарил (а): 5 раз
Re: Установка электровентилятора ОЖ взамен принудительного.
Дело в том что там 4 провода (торчит из моторчика). 1- на датчик, 2 +, 3 (-). Правильно?
И ще вопрос - Хочу перед этим промыть систему охлаждения водой (на ней поездить), слышал в воду можно соду добавить для эфективности, если да то сколько, и не навредит ли это, радиатор старый, паяный не раз (медь), не разьест там ничего?
И ще вопрос - Хочу перед этим промыть систему охлаждения водой (на ней поездить), слышал в воду можно соду добавить для эфективности, если да то сколько, и не навредит ли это, радиатор старый, паяный не раз (медь), не разьест там ничего?
- Антон80
- Модератор

- Сообщения: 47853
- Зарегистрирован: Сб окт 09, 2010 15:16:45
- Модель авто: Chevrolet AVEO 2005, 1.5
- Тип двигателя: Инжекторный
- Откуда: Украина, Кременчуг
- Благодарил (а): 1517 раз
- Поблагодарили: 3793 раза
Re: Установка электровентилятора ОЖ взамен принудительного.
содой? Мне кажется это только во вред. Ведь такие отложения как раз отмыть надо.
Почему 4 провода? У меня два.
Почему 4 провода? У меня два.
Кто сейчас на конференции
Сейчас этот форум просматривают: нет зарегистрированных пользователей и 20 гостей